机械工程基础实验指导书
机械工程公司
二零零九年七月
实验一 尺寸测量
实验1—1 用内径千分表测量内径
一、实验目的
1. 熟悉测量内径常用的计量器具和方法。
2. 加深对内尺寸测量特点的了解。
二、实验内容
1. 用内径千分表测量连杆内径。
三、测量原理及计量器具 说明
内径可用内径千分尺直接测量,但对深孔或公差等级较高的孔,则常用内径千分表或
卧式测长仪作比较测量。
1. 内径千分表
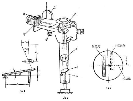
国产的内径千分表,常由活动测头工作行程不同的七种规格组成一套,用以测量10—450mm的内径,特别适用测量深孔,其典型结构如图1所示 。
内径千分表是用它的可换测头3(测量中固定不动)和活动测头2跟被测孔壁接触进行测量的。仪器盒内有几个长短不同的可换测头,使用时可按被测尺寸的大小来选择。测量时,活动测头2受到一定的压力,向内推动镶在等臂直角杠杆1上的钢球4,使杠杆1绕支轴6回转,并通过长接杆5推动千分表的测杆而进行读数。在活动测头的两侧,有对称的定位板8。装上测头2后,与定位板连成一个整体。定位板在弹簧9的作用下,对称地压在靠在被测孔壁上,以保证测头的轴线处于被测孔的直径截面内。
四、测量步骤
1. 用内径千分表测量内径
(1)按被测孔的基本尺寸组合量块。换上相应的可换测头并拧入仪器的相应螺孔内。
(2)将选用的量块组和专用侧块(图2中的1和2)一起放入量块夹内夹紧 (图2),
图2 图2
以便仪器对零位,在大批量生产中,也常按照与被测孔径基本尺寸相同的标准环的实际尺寸对准仪器的零位。
(3)将仪器对好零位
用手拿着隔热手柄(图1中的7),另一只手的食指和中指轻轻压按定位板,将活动测
头压靠在侧块上(或标准环内)使活动测头内缩,以保证放入可换测头时不与侧块(或标准环内壁)摩擦而避免磨损。然后,松开定位板和活动测头,使可换测头与侧块接触,就可在垂直和水平两个方向上摆动内径千分表找最小值。反复摆动几次,并相应地旋转表盘,使千分表的零刻度正好对准示值变化的最小值。零位对好后,用手指轻压定位板使活动测头内缩,当可换测头脱离接触时,缓缓地将内径千分表从侧块(或标准环)内取出。
(4)进行测量
将内径千分表插入被测孔中,沿被测孔的轴线方向测几个截面,每个截面要在相互垂直的两个部位上各测一次。测量时轻轻摆动内径千分表(图3),记下示值变化的最小值。根据测量结果和被测孔的公差要求,判断被测孔是否合格。
实验1-2 用千分尺及游标卡尺测量外尺寸
一、实验目的
1. 熟悉测量外径常用的计量器具和方法。
2. 加深对外尺寸测量特点的了解。
二、实验内容
1. 用游标卡尺测量活塞和活塞销
2. 用千分尺测量活塞和塞规
三、测量原理及计量器具说明
螺旋测微器(又叫千分尺)是比游标卡尺更精密的测量长度的工具,用它测长度可以准确到0.01mm,测量范围为几个厘米。
螺旋测微器的构造如图所示。螺旋测微器的小砧的固定刻度固定在框架上、旋钮、微调旋钮和可动刻度、测微螺杆连在一起,通过精密螺纹套在固定刻度上。
螺旋测微器是依据螺旋放大的原理制成的,即螺杆在螺母中旋转一周,螺杆便沿着旋转轴线方向前进或后退一个螺距的距离。因此,沿轴线方向移动的微小距离,就能用圆周上的读数表示出来。螺旋测微器的精密螺纹的螺距是0.5mm,可动刻度有50个等分刻度,可动刻度旋转一周,测微螺杆可前进或后退0.5mm,因此旋转每个小分度,相当于测微螺杆前进或后退这0.5/50=0.01mm。可见,可动刻度每一小分度表示0.01mm,所以以螺旋测微器可准确到0.01mm。由于还能再估读一位,可读到毫米的千分位,故又名千分尺。
游标卡尺的结构特点是游标上m个分格的总长度与主尺上m-1个分格的总长度相等。设主尺上分度值为y,游标上的分度值为x,则有
mx=(m-1)y
y-x=y/m =ΔL标
式中 ΔL标 表示主尺分度值与游标尺分度值之差,称为游标尺的最小分度值。以10分度的游标卡尺为例:图2(a)表示了游标与主尺的刻度关系,游标尺上每一分格比主尺的最小分格短0.1mm。所以,该游标尺的最小分度值为0.1mm。图2(b)表示了该游标尺的读数方法。
本次实验所用的卡尺的游标刻度格数为50,总长度49mm。思考:此种卡尺的允许误差极限为多少毫米?游标原理还可以用于角度的精确测量中。
四、测量步骤
测量时,当小砧和测微螺杆并拢时,可动刻度的零点若恰好与固定刻度的零点重合,旋出测微螺杆,并使小丰和测微螺杆的面正好接触待测长度的两端,那么测微螺杆向右移动的距离就是所测的长度。这个距离的整毫米数由固定刻度上读出,小数部分则由可动刻度读出。
实验1-3 用万能数据测长仪测连杆
一、实验目的
了解万能数据测长仪测量方法
二、实验内容
用卧式测长仪测量外径。
三、测量原理及计量器具说明
卧式测长仪是以精密刻度尺为基准,利用平面螺旋式读数装置的精密长度计量器具。该仪器带有多种专用附件,可用于测量 外尺寸、内尺寸和内、外螺纹中径。根据测量需要,既可用于绝对测量,又可用于相对(比较)测量,故常称为万能测长仪。
卧式测长仪的外观如图2所示。在测量过程中,镶有一条精密毫米刻度尺(图3a中的6)的测量轴3随着被测尺寸的大小在测量轴承座内作相应的滑动。当测头接触被 测部分后,测量轴就停止滑动。图3a是测微目镜1的光学系统。在目镜1中可以观察到毫
米数值,但还需细分读数,以满足精密测量的要求。
测微目镜中有一个固定分划板4,它的上面刻有10个相等的刻度间距,毫米刻度尺的一个间距成象在它上面时恰与这10个间距总长相等,故其分度值为0.1毫米。在它的附近,还有一块通过手轮3可以旋转的平面螺旋线分划板2,其上刻有十圈平面螺旋双刻线。螺旋双刻线的螺距恰与固定分划板上的刻度间距相等,其分度值也为0.1毫米。在分划板2的中央,有一圈等分为100格的圆周刻度。当分划板2转动一格圆周分度时,其分度值为:
=0.001(mm)
这样就可以达到细分读数的目的。这种仪器的读数方法如下:从目镜中观察,可同时看到三种刻线(图3b),先读毫米数(7mm),然后按毫米刻线在固定分划板4上的位置读出零点几毫米数(0.4mm)再转动手轮3,使靠近零点几毫米刻度值的一圈平面螺旋双刻线夹住毫米刻线,再从指示线对准的圆周刻度上读得微米数(0.051mm)。
所以从图3b中读得的数是7.451mm。
图 3
图 4 图 5

图6 图7
四、测量步骤
1. 用内径千分表测量内径
(1)按被测孔的基本尺寸组合量块。换上相应的可换测头并拧入仪器的相应螺孔内。
(2)将选用的量块组和专用侧块(图4中的1和2)一起放入量块夹内夹紧 (图4),
以便仪器对零位,在大批量生产中,也常按照与被测孔径基本尺寸相同的标准环的实际尺寸对准仪器的零位。
(3)将仪器对好零位
用手拿着隔热手柄(图1中的7),另一只手的食指和中指轻轻压按定位板,将活动测
头压靠在侧块上(或标准环内)使活动测头内缩,以保证放入可换测头时不与侧块(或标准环内壁)摩擦而避免磨损。然后,松开定位板和活动测头,使可换测头与侧块接触,就可在垂直和水平两个方向上摆动内径千分表找最小值。反复摆动几次,并相应地旋转表盘,使千分表的零刻度正好对准示值变化的最小值。零位对好后,用手指轻压定位板使活动测头内缩,当可换测头脱离接触时,缓缓地将内径千分表从侧块(或标准环)内取出。
(4)进行测量
将内径千分表插入被测孔中,沿被测孔的轴线方向测几个截面,每个截面要在相互垂直的两个部位上各测一次。测量时轻轻摆动内径千分表(图5),记下示值变化的最小值。根据测量结果和被测孔的公差要求,判断被测孔是否合格。
2. 用卧式测长仪测量内径
(1)接通电源,转动测微目镜的调节环以调节视度。
(2)参看图2:松开紧固螺钉12,转动手轮6,使工作台5下降到较低位置。然后在
工作台上安好标准环或装有量块组的量块夹子,如图4所示。
(3)将一对测钩分别装在测量轴和尾管上(图6),测钩方向垂直向下,沿轴向移动测量轴和尾管,使两测钩头部的楔槽对齐,然后旋紧测钩上螺钉,将测钩固定。
(4)上升工作台,使两测钩伸入标准环内或量块组两侧块之间,再将手轮6的紧固螺钉12拧紧。
(5)移动尾管10(11是尾管的微调螺钉),同时转动工作台横向移动手轮7,使测钩的内测头在标准环端面上刻有标线的直线方向或量块组的侧块上接触,用紧固螺钉13锁紧尾管;然后用手扶稳测量轴3,挂上重锤,并使测量轴上的测钩内测头缓慢地与标准环或侧块接触。
(6)找准仪器对零的正确位置(第一次读数)
如为标准环,则需转动手轮7,同时应从目镜中找准转折点(图7a中的最大位置),在此位置上,扳动手柄8,再找转折点(图7b中的最小值),此处即为直径的正确位置。然后,将手柄9压下固紧。
如为量块组,则需转动手柄4找准转折点(最小值)。在此位置上扳动手柄8仍找最小值的转折点,此处即为正确对零位。要特别注意,在扳动手柄4和8时,其摆动幅度要适当,千万避免测头滑出侧块,由于重锤的作用使测量轴急剧后退产生冲击,将毫米刻度尺寸损坏。为防止这一事故的发生,通过重锤挂绳长度对测量轴行程加以控制。当零位找准后,即可按前述读数方法读数。
(7)用手扶稳测量轴3,使测量轴右移一个距离,固紧螺钉2(尾管是定位基准,不能移动),取下标准环或量块组。然后安装被测工件,松开螺钉2,使测头与工件接触,按前述的方法进行调整与读数,即可读出被测尺寸与标准环或量块组尺寸之差。
(8)沿被测内径的轴线方向测几个截面。每个截面要在相互垂直的两个部位上各测一次。根据测量结果和被测内径的公差要求,判断该内径是否合格。
思 考 题
1. 用内径千分尺与内径千分表测量孔的直径时,各属何种测量方法?
2. 卧式测长仪上有手柄4(图2),能是使万能工作台作水平转动,测量哪些形状的工件需要用它来操作?
实验二 立式光学计测量塞规
实验2—1 用立式光学计测量塞规
一、实验目的
1. 了解立式光学计的测量原理。
2. 熟悉用立式光学计测量外径的方法。
3. 加深理解计量器具与测量方法的常用术语。
二、实验内容
1. 用立式光学计测量塞规。
2. 根据测量结果,按国家标准GB1957—81《光滑极限量规》查出被测塞规的尺寸公差和形状公差,作出适用性结论。
三、测量原理及计量器具说明
立式光学计是一种精度较高而结构简单的常用光学量仪。用量块作为长度基准,按比较测量法来测量各种工件的外尺寸。
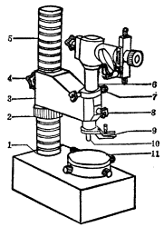
图1为立时光学计的外形图。它由底座1、立柱5、支臂3、直角光管6和工作台11等几部分组成。光学计是利用光学杠杆放大原理进行测量的仪器,其光学系统如图2b所示。照明光线经反射镜1照射到刻度尺8上,再经直角棱镜2、物镜3,照射到反射镜4上。由于刻度尺8位于物镜3的焦平面上,故从刻度尺8上发出的光线经物镜3后成为一平行光束,若反射镜4与物镜3之间相互平行,则反射光线折回到
焦平面,刻度尺象7与刻度尺8对称。若被测尺寸变动
使测杆5推动反射镜4饶支点转动某一角度α(图2a),
则反射光线相对于入射光线偏转2α角度,从而使刻度
尺象7产生位移t(图2c),它代表被测尺寸的变动量。
物镜至刻度尺8间的距离为物镜焦距f,设b为测杆中
心至反射镜支点间的距离,s为测杆移动的距离,则仪
器的放大比K为:

当
很小时,
,
,因此:
图 1
光学计的目镜放大倍数为12,
,
,故仪器的总放大倍数n为:

由此说明,当测杆移动0.001mm时,在目镜中可见到0.96mm的位移量。
四、测量步骤
1. 测头的选择:测头有球形、平面形和刀口形三种,根据被测零件表面的几何形状来选择,使测头与被测表面尽量满足点接触。所以,测量平面或圆柱面工件时,选用球形测头。测量球面工件时,选用平面形测头。测量小于10mm的圆柱面工件时,选用刀口形测头。
图 2
图 3
2. 按被测塞规的基本尺寸组合量块。
3. 调整仪器零位
(1)参看图1,选好量块组后,将下测量面置于工作台11的中央,并使测头10对准上测量面中央。
(2)粗调节:松开支臂紧固螺钉4,转动调节螺母2,使支臂3缓慢下降,直到测头与量块上测量面轻微接触,并能在视场中看到刻度尺象时,将螺钉4锁紧。
(3)细调节:松开紧固螺钉8,转动调节凸轮7,直至在目镜中观察到刻度尺象与μ指示线接近为止(图3a)。然后拧紧螺钉8。
(4)微调节:转动刻度尺寸微调螺钉6(图2b),使刻度尺的零线影象与μ指示线重合(图3b)。然后压下测头提升杠杆9数次,使零位稳定。
(5)将测头抬起,取下量块。
4. 测量塞规:按实验规定的部位(在三个横截面上两个相互垂直的径向位置上)进行测量,把测量结果填入实验报告。
5. 由塞规零件图(由员工自己设计、画出)的要求,判断塞规的合格性。
思 考 题
1. 用立式光学计测量塞规属于什么测量方法?绝对测量与相对测量个有何特点?
2. 什么是分度值、刻度间距?它们与放大比的关系如何?
3. 仪器工作台与测杆轴线不垂直,对测量结果有何影响?工作台与测杆轴线垂直度如何
调节?
4. 仪器的测量范围和刻度尺的示值范围有何不同?
实验2—2 粗糙度样块比较得出工件表面粗糙度值
一、实验目的
1. 熟悉粗糙度样块比较方法。
2. 加深粗糙度概念的了解。
二、实验内容
1. 车工工件粗糙度值确定
2. 铣削工件粗糙度值确定
三、测量步骤
1、将工件有布擦干净。
2、采用放大镜,观测样块和工件的表面纹路。
3、确定工件表面粗糙度值。
思 考 题
铣、车、磨等机床加工出的纹路一样吗,有何区别?
实验三 螺纹测量
实验3—1 影象法测量螺纹主要参数
一、实验目的
1. 了解工具显微镜的测量原理及结构特点。
2. 熟悉用大型(或小型)工具显微镜测量外螺纹主要参数的方法。
二、实验内容
用大型或小型工具显微镜测量螺纹塞规的中径、牙型半角和螺距。
三、 测量原理及计量器具说明
工具显微镜用于测量螺纹量规、螺纹刀具、齿轮滚刀以及样板等。它分为小型、大型、万能和重型等四种形式。它们的测量精度和测量范围虽各不相同,但基本原理是相似的。下面以大型工具显微镜为例,阐述用影象法测量中径、牙型半角和螺距。
图1 图2
图1为大型工具显微镜的外形图,它主要由目镜1、工作台5、底座7、支座12、立柱13、悬臂14和千分尺6、10等部分组成。转动手轮11,可使立柱饶支座左右摆动,转动千分尺6和10,可使工作台纵、横向移动,转动手轮8,可使工作台绕轴心线旋转。
仪器的光学系统如图2所示。由主光源1发出的光经聚光镜2、滤色片3、透镜4、光阑5、反射镜6、透镜7和玻璃工作台8,将被测工件9的轮廓经物镜10、反射棱镜11投射到目镜的焦平面13上,从而在目镜15中观察到放大的轮廓影象。另外,也可用反射光源,照亮被测工件,以工件表面上的反射光线,经物镜10、反射棱镜11投射到目镜的焦平面13上,同样在目镜15中观察到放大的轮廓影象。
图3a为仪器的目镜外形图,它由玻璃分划板、中央目镜、角度读数目镜、反射镜和手轮等组成。目镜的结构原理如图3b所示,从中央目镜可观察到被测工件的轮廓影象和分划板的米字刻线(图3c),从角度读数目镜中,可以观察到分划板上00—3600的度值刻线和固定游标分划板上0—60`的分值刻线(图3d)。转动手轮,可使刻有米字刻线和度值刻线的分划板转动,它转过的角度,可从角度读数目镜中读出。当该目镜中固定游标的零刻线与度值刻线的零位对准时,则米字刻线中间虚线A—A正好垂直于仪器工作台的纵向移动方向。
图3
四、测量步骤
1. 擦净仪器及被测螺纹,将工件小心地安装在两顶尖之间,拧紧顶尖的固紧螺钉(要当心工件掉下砸坏玻璃工作台)。同时,检查工作台圆周刻度是否对准零位。
2. 接通电源。
3. 用调焦筒(仪器专用附件)调节主光源1(图2),旋转主光源外罩上的三个调节螺钉,直至灯丝位于光轴中央成象清晰,则表示灯丝已位于光轴上并在聚光镜2的焦点上。
4. 根据被测螺纹尺寸,从仪器说明书中,查出适宜的光阑直径,然后调好光阑的大小。
5. 旋转手轮11(图1),按被测螺纹的螺旋升角ψ,调整立柱13的倾斜度。
6. 调整目镜14、15上的调节环(图2),使米字刻线和度值,分值刻线清晰。松开螺钉15(图1),旋转手柄16,调整仪器的焦距,使被测轮廓影象清晰(若要求严格,可用专用的调焦棒在两顶尖中心线的水平面内调焦)。然后,旋紧螺钉15。
7. 测量螺纹主要参数
(1) 测量中径
螺纹中径d2是指螺纹截成牙凸和牙凹宽度相等并和螺纹轴线同心的假想圆柱面直径。对于单线螺纹,它是中径也等于在轴截面内,沿着与轴线垂直的方向量得的两个相对牙形侧面间的距离。
为了使轮廓影象清晰,需将立柱顺着螺旋线方向倾斜一个螺旋升角ψ,其值按下式计算:


式中 p——螺纹螺距(mm);
d2——螺纹中径理论值(mm);
n——螺纹线数。
测量时,转动纵向千分尺10和横向千分尺6(图1),以移动工作台,使目镜中的A—A虚线与螺纹投影牙形的一侧重合(图4),记下横向千分尺的第一次读数。然后,将显微镜立柱反向倾斜螺旋升角ψ,转动横向千分尺,使A—A虚线与对面牙形轮廓重合(图4),记下横向千分尺第二次读数。两次读数之差,即为螺纹的实际中径。为了消除被测螺纹安装误差的影响,须测
和
,取两者的平均值作为实际中径:


图 4 图 5
(2) 测量牙型半角
螺纹牙型半角
是指在螺纹牙形上,牙侧与螺纹轴线的垂线间的夹角。
测量时,转动纵向和横向千分尺并调节手轮(图3),使目镜中的A—A虚线与螺纹投影牙形的某一侧面重合(图5)。此时,角度读数目镜中显示的读数,即为该牙侧的半角数值。
在角度读数目镜中,当角度读数为
时,则表示A—A虚线垂直于工作台纵向轴线(图6a)。当A—A虚线与被测螺纹牙形边对准时,如图6b所示,得该半角的数值为:
(右)=
同理,当A—A虚线与被测螺纹牙形另一边对准时,如图6c所示,则得另一半角的数值为:


图6
为了消除被测螺纹的安装误差的影响需分别测出
(Ⅰ) 、
(Ⅱ) 、
(Ⅲ) 、
(Ⅳ),并按下述方式处理:


将它们与牙形半角公称值(
)比较,则得牙形半角偏差为:
△
△
△
为了使轮廓影象清晰,测量牙形半角时,同样要使立柱倾斜一个螺旋升角ψ。
(3) 测量螺距
螺距P是指相邻两牙在中线上对应两点的轴向距离。
测量时,转动纵向和横向千分尺,以移动工作台,利用目镜中的A—A虚线与螺纹投影牙形的一侧重合,记下纵向千分尺第一次读数。然后,移动纵向工作台,使牙形纵向移动几个螺距的长度,以同侧牙形与目镜
中的A—A虚线重合,记下纵向千分尺第二次 图 7
读数。两次读数之差,即为n个螺距的实际长度(图7)。
为了消除被测螺纹安装误差的影响,同样要测量出
。然后,取它们的平均值作为螺纹n个螺距的实际尺寸:

n个螺距的累积偏差为:

8. 按图样给定的技术要求,判断被测螺纹塞规的适用性。
思 考 题
1. 用影象法测量螺纹时,立柱为什么要倾斜一个螺旋角ψ?
2. 用工具显微镜测量外螺纹的主要参数时,为什么测量结果要取平均值?
实验3—2 外螺纹中径的测量
一、实验目的
熟悉测量外螺纹中径的原理和方法。
二、 实验内容
1. 用螺纹千分尺测量外螺纹中径。
2. 用三针测量外螺纹中径。
三、测量原理及计量器具说明
1. 用螺纹千分尺测量外螺纹中径
图1为螺纹千分尺的外形图。它的构造与外径千分尺基本相同,只是在测量砧和测量头上装有特殊的测量头1和2,用它来直接测量外螺纹的中径。螺纹千分尺的分度值为0.01毫米。测量前,用尺寸样板3来调整零位。每对测量头只能测量一定螺距范围内的螺纹,使用时根据被测螺纹的螺距大小,按螺纹千分尺附表来选择,测量时由螺纹千分尺直接读出螺纹中径的实际尺寸。
图 1
2. 用三针测量外螺纹中径
图2为用三针测量外螺纹中径的原理图,这是一种间接测量螺纹中径的方法。测量时,将三根精度很高、直径相同的量针放在被测螺纹的牙凹中,用测量外尺寸的计量器具如千分尺、机械比较仪、光较仪、测长仪等测量出尺寸
。再根据被测螺纹的螺距
、牙形半角
和量针直径
,计算出螺纹中径
。由图2可知:

而
=

将
和
值代入上式,得:

对于公制螺纹,
,则

图2 为了减少螺纹牙形半角偏差对测量结果的影响,应选择合适的量针直径,该量针与螺纹牙形的切点恰好位于螺纹中径处。此时所选择的量针直径
为最佳量针直径。由图3可知:

对于公制螺纹,
,则

在实际工作中,如果成套的三针中没有所需的最佳量针直径时,可选择与最佳量针直径相近的三针来测量。
量针的精度分成0级和1级两种:0级用于测量中径公差为4—8μm的螺纹塞规;1级用于测量中径公差大于8μm的螺纹塞规或螺纹工件。
测量M值所用的计量器具的种类很多,通常根据工件的精度要求来选择。本实验采用杠千分尺来测量(见图4)。杠杆千分尺的测量范围有0—25,25—50,50—75,75—100mm
图 3 图 4
四种,分度值为0.002mm。它有一个活动量砧1,其移动量由指示表7读出。测量前将尺体5装在尺座上,然后校对千分尺的零位,使刻度套筒管3、微分筒4和指示表7的示值都分别对准零位。测量时,当被测螺纹放入或退出两个量砧之间时,必须按下右侧的按钮8使量砧离开,以减少量砧的磨损。在指示表7上装有两个指标6,用来确定被测螺纹中径上、下偏差的位置,以提高测量效率。
四、测量步骤
1. 用螺纹千分尺测量外螺纹中径
(1) 根据被测螺纹的螺距,选取一对测量头。
(2) 擦净仪器和被测螺纹,校正螺纹千分尺零位。
(3) 将被测螺纹放入两测量头之间,找正中径部位。
(4) 分别在同一截面相互垂直的两个方向上测量螺纹中径。取它们的平均值作为螺纹的实际中径,然后判断被测螺纹中径的适用性。
2. 用三针测量外螺纹中径
(1) 根据被测螺纹的螺距,计算并选择最佳量针直径dm。
(2) 在尺座上安装好杠杆千分尺和三针。
(3) 擦净仪器和被测螺纹,校正仪器零位。
(4) 将三针放入螺纹牙凹中,旋转杠杆千分尺的微分筒4,使两端测量头1、2与三针接触,然后读出尺寸M的数值。
(5) 在同一截面相互垂直的两个方向上测出尺寸M,并按平均值用公式计算螺纹中径,然后判断螺纹中径的适用性。
思 考 题
1. 用三针测量螺纹中径时,有哪些测量误差?
2. 用三针测得的中径是否作用中径?
3. 用三针测量螺纹中径的方法属于哪一种测量方法?为什么要选用最佳量针直径?
4. 用杠杆千分尺能否进行相对测量?相对测量法和绝对测量法比较,哪种测量方法精度较高?为什么?
实验四 观摩陈列柜实验
一、实验目的
1、加强对机械与机器的认识;
2、通过实验,直观地、全面地了解机械工程基础这门课程;
3、了解各种机构的组成及应用情况。
二、实验设备
声控示教陈列柜。
三、实验内容
陈列柜分十八部分,由有录音机声音控制运转演示,板面附有必要的图表和文字说明,演示形象逼真。内容如下:
第一部分 机构的组成和运动副 |
内燃机、蒸汽机、螺旋副、移动副、曲面副、球面副、圆柱副、转动副 |
第二部分 齿轮机构的类型 |
平面齿轮:外啮合直齿圆柱齿轮、内啮合直齿圆柱齿轮、齿轮齿条、斜齿轮、人字齿轮 空间齿轮:直齿圆锥齿轮、斜齿圆锥齿轮、螺旋齿轮、蜗杆蜗轮 |
第三部分 齿轮的基本参数 |
渐开线的形成、摆线的形成、渐开线齿轮各部分的名称及基本参数、齿数、模数、压力角、齿顶高系数等。 |
第四部分 轮系的的类型 |
定轴轮系:平面定轴轮系、空间定轴轮系 周转轮系;行星轮系、差动轮系、3K型周转轮系、复合轮系 |
第五部分 轮系的功用 |
较大传动比、分路传动、变速传动、换向传动、运动合成、运动分解、摆线针轮减速器、谐波传动减速器 |
第六部分 凸轮机构 |
凸轮机构的类型:盘形凸轮(尖端推杆)、盘形凸轮(平底推杆)、盘形凸轮(滚子推杆)、盘形凸轮(摆动推杆) 凸轮机构的封闭方法:移动凸轮、圆柱凸轮、槽形凸轮、等宽凸轮两件、等径凸轮 |
第七部分 平面连杆机构的类型 |
铰链四杆机构的3种形式:曲柄摇杆机构、双曲柄机构、双摇杆机构 平面四杆机构的演化:偏置曲柄滑块、对心曲柄滑块、正弦机构、偏心轮、双重偏心、直动滑杆双滑块、摆动导杆、摇块机构、双滑块 |
第八部分 平面边杆机构的应用 |
鄂式碎石机、飞剪、惯性筛、摄影机平台、机车车轮的联动、鹤式起重机 |
第九部分 间歇运动机构 |
棘轮机构:齿式棘轮机构、摩擦式棘轮机构、超越离合器 槽轮机构:外槽轮机构、内槽轮机构、球面槽轮机构 不完全齿轮机构:不完全齿轮机构、摆线针轮不完全齿轮机构、凸轮式间歇机构 |
第十部分 组合机构 |
联动凸轮组合、凸轮—齿轮组合、凸轮—连杆组合、齿轮—连杆组合 |
第十一部分 螺纹联接 |
螺纹的种类、螺纹联接的基本类型、螺纹联接的防松、提高螺纹联接强度的措施 |
第十二部分 标准联接零件 |
常用标准联接零件:螺栓、螺钉、螺母、垫圈、挡圈 |
第十三部分 键、花键及销联接 |
键联接、花键联接、销联接 |
第十四部分 机械传动 |
螺旋传动、带传动、链传动、齿传动及蜗杆传动 |
第十五部分 轴系零、部件 |
轴承、轴的结构类型、轴上零件安装 |
第十六部分 弹簧 |
拉伸弹簧、压缩弹簧、扭转弹簧、弯曲弹簧,螺旋弹簧、环形弹簧、碟形弹簧、板簧、平面涡卷弹簧 |
第十七部分 密封 |
密封件、密封方法措施 |
第十八部分 联轴器与离合器 |
联轴器、离合器 |
四、观摩实验过程要求:
1、进入实验室后按要求作登记。
2、观摩实验时不得触碰展示零件和器具。
3、实验室内不得大声喧哗。
4、如有疑问可以和同学或指导教师进行交流。
5、对实验室陈列的教学器具做必要记录。
五、实验报告要求:
1、列出你看过的机械零件陈列柜的类型。
2、列出你特别感兴趣的3套零件或机构的名称,根据你掌握的知识,谈一谈他们分别用在哪些场合。
3、本次观摩实验的体会。
实验五 平面机构运动简图的测绘和分析
一、实验目的
1、 熟悉机构运动简图的绘制方法,掌握从实际机构中测绘机构运动简图的技能;
2、 巩固机构结构分析原理及自由度计算方法;
二、实验设备及工具
1、 测绘用机构实物模型;
2、 测量用尺、分规、铅笔及草稿纸。
三、实验原理
1、机构运动简图的常用符号
如图1至图4所示(详见《机械制图》GB4460—84“机构运动简图符号”)。
(1)转动副,如图1所示。
(a)全为活动构件时
(b)构件1为机架时
图1 转动副
(2)移动副,如图2所示。
(a)全为活动构件时
(b)构件1为机架时
图2 移动副
(3)高副,如图3所示。
(a)全为活动构件时
(b)构件1为机架时
图3 高副
(4)构件图例,如图4所示
(a)具有两个运动副元素时
(b)具有三个运动副元素时
(c)具有四个运动副元素时
图4 构件图例
2、实验原理
机构各部分的运动,是由其原动件的运动规律、该机构中各运动副的类型(高副、低副,转动副、移动副等)和机构的运动尺寸来决定的,而与构件的外形、断面尺寸、组成构件的零件数目及固联方式等无关。所以,只要根据机构的运动尺寸,按一定的比例尺定出各运动副的位置,就可以用运动副的代表符号和简单的线条把机构的运动简图作出来。
正确的机构运动简图中各构件的尺寸、运动副的类型和相对位置以及机构组成形式应与原机构保持一致,从而保证机构运动简图与原机构具有完全相同的运动特性,以便根据该图对机构进行运动及动力分析。
所谓机构运动简图就是从运动的观点出发,用规定的符号和简单的线条按一定的尺寸比例来表示实际机构的组成及各构件间相对运动关系。
3、绘制机构运动简图的方法及步骤
(1)分析机构的实际构造和运动情况
任选原动件并缓慢转动,根据各构件之间有无相对运动,分清机构是由哪些构件组成的;按照机构运动的传递顺序,仔细观察各构件之间相对运动的性质,从而确定运动副的类型和数目。
(2)合理选择投影面和原动件位置,作机构示意图
选择恰当的投影面,一般选择与大多数构件的运动平面相平行的平面为视图平面;合理选择原动件的一个位置,以便简单清楚地将机构的运动情况正确地表达出来。
撇开各构件的具体结构形状,找出每个构件上的所有运动副,用简单的线条联接该构件上的所有运动副元素来表示每一个构件。即用简单的线条和规定符号来代表构件和运动副,从而在所选投影面上作出机构的示意图。
(3)计算机构的自由度并检验机构示意图是否正确
a、机构自由度计算公式:F=3n-2PL-PH
式中: n——机构活动构件数
PH——平面低副个数
PL——平面高副个数
b、核对计算结果
机构具有确定运动的条件为:机构的自由度大于零且等于原动件数。因本实验中各机构模型均具有确定的运动,故各机构计算自由度应与其原动件数相同:否则说明所作示意图有误,应对机构重新进行分析、作示意图。
注意:转动副和移动副虽同为低副,但因其运动性质不同,在作示意图时一定不能混淆互换。可单单通过自由度计算,又不能发现转动副与移动副相混淆的错误情况,故应将所作图中的各运动副类型与原机构进行逐一核对检查。
(4)量取运动尺寸
运动尺寸是指与机构运动有关的、能确定各运动副相对位置的尺寸。在原机构上量取机构的运动尺寸,并将这些尺寸标注在机构示意图上。
(5)绘制机构运动简图
选取适当的长度比例尺,依照机构示意图,按一定顺序进行绘图,并将比例尺标注在图上,即为机构运动简图。
长度比例尺的意义如下:
例如:某构件的长度LAB=1m,绘在图上的长度AB=1000mm,则长度比例尺为:

(6)标注比例尺和运动尺寸,画斜线表示机架,在原动件上画箭头表示运动方向。
四、例题:
绘制出偏心轮机构的运动简图,并计算其自由度。
图5(a) 图5(b)
1、选择手柄作为原动件并缓慢转动,根据各构件之间有无相对运动,分清机构是由哪些构件组成的。在图5(a)中,机构由1—机架,2—手柄(即曲柄,本例中取为原动件),3—连杆,4—滑块(即从动件)组成。
2、从原动件开始,按照机构运动的传递顺序,仔细观察各构件之间相对运动的性质,确定运动副的类型和数目。在图5(a)中,曲柄2为原动件,则运动传递顺序为:曲柄2,连杆3,滑块4。回转件的回转中心是相对回转表面的几何中心,而构件2可以绕构件1的偏心轴A作相对转动,故构件3与构件2在B点处也组成转动副;构件4与构件3在C点处又组成转动副;构件4沿X-X方向在构件1上作相对直线运动,组成移动副。
3、合理选择原动件的一个位置,以便简单清楚地将机构的运动情况正确地表达出来,如图5(b)所示,用规定的符号和简单的线条画出机构的示意图。
4、计算机构自由度
(1)机构自由度计算公式:F=3n-2PL-PH
本例所作示意图中,n=3,PL=4,PH=0,代入上式得:
F=3n-2PL-PH=3×3-2×4-0=1
(2)核对计算结果
观察各构件的运动可知该机构的运动是确定的,则机构的自由度应大于零且等于原动件数,由计算得:F=1=原动件数,从而验证以上所作机构示意图的正确性。
5、量取运动尺寸
在构件2、3上分别量取两相临转动副中心之间的距离LAB、LBC;量取转动副A到滑块运动轨迹X-X之间的距离,并将所量尺寸标注在机构示意图上。
6、作图(略)
五、实验内容
据上述原理对机构实物模型进行机构运动简图测绘,并计算机构的自由度。
六、思考题:
1、 机构运动简图应包括哪些内容?
2、 原动件选取不同、原动件位置不同对绘制机构运动简图有什么影响?
3、 在绘制机构运动简图时,应标注哪些尺寸?
实验六 渐开线标准直齿圆柱齿轮参数的测定
一、实验目的
1、掌握应用游标卡尺、公法线千分尺测量渐开线标准直圆柱齿轮基本参数的方法
2、了解齿轮基本参数m, a,ha*,c*与基本尺寸之间的关系
3、学会测量和计算渐开线标准直齿圆柱齿轮的主要参数
二、实验仪器和工具
1、被测的齿轮
2、游标卡尺、公法线千分尺
3、渐开线函数表(可参见教材)
4、计数器(自备)
三、实验原理
渐开线标准直齿轮圆柱齿轮的基本参数有:齿数
、模数
、齿顶高系数
、顶隙系数
、分度圆压力角
等。本实验是用游标卡尺和公法线千分尺来测量,并通过计算确定齿轮的这些基本参数。
1、确定模数
和压力角
为了确定模数和压力角,首先应测出基圆齿距
,因渐开线的法线切于基圆,故可用公法线千分尺跨过
个齿,测得齿廓间的公法线长度为
mm。为了保证卡尺的两个量足(卡爪)与齿廓的渐开线部分相切,跨齿数
应根据被测齿轮的齿数
由表1查得。
表1 
|
4~17 |
18~26 |
27~35 |
36~44 |
45~53 |
54~62 |
63~71 |
72~80 |
|
2 |
3 |
4 |
5 |
6 |
7 |
8 |
9 |
图1
由渐开线的性质可知,图1中齿廓间的公法线ab的长度与所对应的基圆上的圆弧a’b’长度相等。
因此 
同理 
式中:
:基圆齿距;
:基圆齿厚
在上面两个式子中,消去
则得:
根据基圆齿距
与模数
和压力角
的关系:
或 
计算出
、
。由于
和
已标准化,而压力角
可能是20°也可能是15°,故应分别代人算出其相应的模数,其数值接近于标准值的一组
和
,即为所求的值。
2、确定齿顶高系数
和顶隙系数
当被测齿轮的齿数为偶数时,可用卡尺直接测得齿顶圆直径
及齿根圆直径
。如果齿数为奇数,则应先测量出齿轮轴孔直径dk,然后在测量轴孔到齿顶的距离L1和轴孔到齿根的距离L2,如图2所示。
图2
由图可得 da=dk+2L1
df=dk+2L2
又因为 da= (z+2ha*) m
df = (z-2ha*-2c*) m
故可确定
和
。
四、实验步骤
1、数出被测齿轮的齿数
。
2、测量
、
、
和
,对每一个尺寸应测量三次,取其平均值作为测量数据。
3、计算
、
、
和
五、思考题
1、决定齿廓形状的基本参数有哪些?
2、测量公法线长度时把卡足放在渐开线齿廓的不同位置上,对测得的公法线长度有无影响? 为什么?
3、齿轮的那些误差会影响本实验的测量精度?